项目

一般

简介

行为

需求 #5768

打开

not find in range 报错加入到 Alarm log 报警记录内

陈会慧大约 2 个月 之前添加. 更新于 大约 2 个月 之前.

状态:
已解决
优先级:
指派给:
开始日期:
2025-08-18
计划完成日期:
% 完成:

100%

预期时间:
(合计: 24.00 小时)
机台点位:
全局

描述

1、目前现场设备最多的报警为not find in range,客户需要其在Alarm log 内显示


文件


子任务 1 (0 打开1 已关闭)

3.VIS 4 - 功能 #5773: 研究需求已关闭郭笑2025-08-182025-08-20

行为

连伟 更新于 大约 2 个月 之前

  • 指派给连伟 变更为 钱忠祥
  • 优先级普通 变更为

连伟 更新于 大约 2 个月 之前

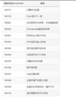
客户需要图中异常报错加入到alarmlog里,其中not find in range z出现频率高优先加入

钱忠祥 更新于 大约 2 个月 之前

  • 子任务 #5773 已添加

连伟 更新于 大约 2 个月 之前

陈会慧 写到:

1、目前现场设备最多的报警为not find in range,客户需要其在Alarm log 内显示

现场错误报警代码编入错误代码表中,简化说明描述

钱忠祥 更新于 大约 2 个月 之前

  • 状态新建 变更为 已解决
  • 指派给钱忠祥 变更为 陈会慧
行为

导出 Atom PDF